

蓝鲸新闻9月1日讯(记者 王婉莹)合并更名后,国联民生证券(601456.SH)交出合并后的首份中期“成绩单”。上半年,公司实现营业收入40.11亿元,同比增长269.4%;实现归母净利润11.27亿元北京网上炒股配资网,同比飙升1185.19%。
从具体业务线来看,国联民生投资业务狂揽近17亿元收入,同比增幅高达14052.11%;经纪及财富管理业务、投行业务均实现超200%的增长,IPO承销家数跻身行业前十。不过资产管理及投资业务收入和其他业务分别同比下降8.23%、50.64%。
上月初,国联民生证券新一届领导班子亮相,公司党委书记顾伟出任董事长,原董事长葛小波仍任公司执行董事、总裁等职务,从现有管理团队来看,有近一半成员来自原民生证券,实现了较为平稳的过渡。对于领导团队而言,合并红利为公司长期发展提供了助力,但同时也需妥善处理包括合规内控在内的过往遗留问题。
资产管理及投资业务收入逆势下滑
从业务数据来看,今年上半年,国联民生证券实现证券投资业务营收16.87亿元,同比增幅高达14052.11%。对于投资业务收入大幅增长,公司解释称,上半年,证券投资业务围绕杠铃策略,充分抓住第二季度以来市场的上升行情,重点配置有色、医药、军工等行业,实现了较高的投资收益。
此外,公司的经纪及财富管理业务、投行业务均表现不俗。据披露,上半年这两大业务分别实现收入11.95亿元、5.44亿元,同比增幅分别为215.76%、214.94%。
经纪及财富管理业务方面,报告期内,公司新增客户数11.76万户,累计总客户数345.59万户;公司金融产品销售规模(除现金管理产品外)870.20亿元,期末金融产品保有量314.36亿元。截至报告期末,基金投顾保有规模97.08亿元。
报告期内,公司股权融资业务完成IPO项目及再融资项目(含并购重组配套融资)共6单,合计承销金额26.2亿元。IPO业务方面,/p>
对于下半年,国联民生表示,公司股权融资业务将持续深化“投行+投资+投研”三投联动机制,坚定践行产业投行、科技投行、财富投行战略定位,深耕根据地产业资源和客户资源,聚力打造区域首选投行,在此基础上稳步拓展全国市场。
值得关注的是,在整体业绩向好的背景下,公司的资产管理及投资业务收入和其他业务下滑。上半年,资产管理业务实现收入2.94亿元,同比下降8.23%,其他业务营收为0.33亿元,同比降低50.64%。
对于资产管理及投资业务,国联民生在半年报中表示,截至报告期末,公司证券资产管理业务受托资金1984.17亿元,管理的资产管理计划共计456个。其中,公募基金(含大集合)产品4个,资产管理规模102.22亿元;集合资产管理计划215个,资产管理规模980.10亿元;单一资产管理计划147个,资产管理规模412.96亿元;专项资产管理计划90个,资产管理规模488.89亿元。

(图片来源:国联民生证券半年报)
此外,国联基金上半年营收2.19亿元,净利0.35亿元,实现双增长。截至2025年6月末,国联基金资产管理总规模1969.16亿元。其中,非货币公募基金管理规模1305.56亿元,管理公募基金90只。
在发布半年报的同时,国联民生还公告了一则对外投资事宜,拟设立国联通智基金。国联民生证券全资私募投资基金子公司国联通宝拟认缴出资4.8亿元与关联人国联人寿共同设立无锡国联通智科技产业投资合伙企业(有限合伙)(暂定名,下称“国联通智基金”),基金规模为12.2亿元。 国联人寿为有限合伙人,国联通宝为普通合伙人。国联通宝作为基金管理人及执行事务合伙人为基金提供资产管理服务。
对于本次投资,公司表示,本次设立国联通智基金,是公司私募投资基金子公司联合保险资金的业务合作。双方将围绕“数智赋能科技资产”共同开发项目资源,能够带来一定长期投资回报,有利于扩大公司私募股权业务管理规模,积累与保险机构合作的经验,增强公司私
新管理层就位,旧案诉讼等待化解
记者关注到,中报发布前夕,国联民生证券还披露了一则涉案金额达2.75亿元的重大诉讼,涉及旗下投行子公司国联民生承销保荐(原华英证券)。
经过三年诉讼,退市五年的龙力生物财务造假案迎来一审判决。1618名投资者作为原告,龙力生物需赔偿投资者投资差额损失2.74亿元,连同通知费和律师费80.9万元,合计2.75亿元,国联民生证券承销为15名被告之一,因未尽勤勉尽责义务,在这起纠纷中被判在5%范围内承担连带赔偿责任,需要承担约1375万元的赔偿。
对于该案,国联民生证券表示,案件最终判决结果仍存在不确定性。目前公司财务状况稳健、经营正常,该诉讼涉及金额不会对本期及期后利润产生重大不利影响,后续将及时披露案件进展并提示投资风险。
这并非国联民生证券遇到的单一诉讼案例。半年报显示,截至目前,国联民生证券及子公司仍有数起待处理诉讼、仲裁事宜,涉及股权回购纠纷、合同纠纷、债券交易纠纷等多个领域。
从罚单情况来看,国联民生证券的合规性也有待加强,尤其指向合并前的民生证券。1月,证监会对国联民生承销保荐(原华英证券)出具警示函,事由为其保荐的春秋电子可转债项目中,发行人上市当年营业利润较前一年下滑超50%。
同月,国联证券因涉及衍生品交易中存在违规被江苏证监局责令改正。
2月,其子公司民生证券被证监会责令改正,监管指出其债券业务存在以下违规行为:一是债券类业务内部控制不完善,个别项目质控内核意见跟踪落实不到位;二是承销尽调不规范,部分项目未对可能影响发行人偿债能力的事项进行充分关注和核查;三是受托管理履职尽责不到位,个别项目未对存续期影响发行人偿债能力事项进行及时关注并督促信息披露。
4月,深交所因民生证券在担任迪嘉药业IPO项目保荐人过程中存在的多项违规问题,出具监管函,并对保荐代表人包静静、何润勇予以通报批评。
5月,北交所因民生证券作为保荐机构及其保荐代表人梁军、朱展鹏未能勤勉尽责,未能保证奥迪威发行上市申请文件和信息披露的真实、准确、完整,对民生证券及相关责任主体采取自律监管措施。
6月,北交所因民生证券作为保荐机构及其保荐代表人曹文轩、刘娜在保荐业务中未勤勉尽责,对民生证券及相关责任主体出具采取自律监管措施。
对于以上,民生证券均表示,高度重视,已对项目相关人员进行处罚。
此外,合并后的国联民生证券也在上半年收到1张监管罚单,6月公司因重大事项未报告、
廉洁从业内部控制制度不完善等问题,被江苏证监局责令改正。
系列处罚背后,暴露出国联民生证券及其子公司仍需加强合规管理,守住合规底线,补齐风控短板。
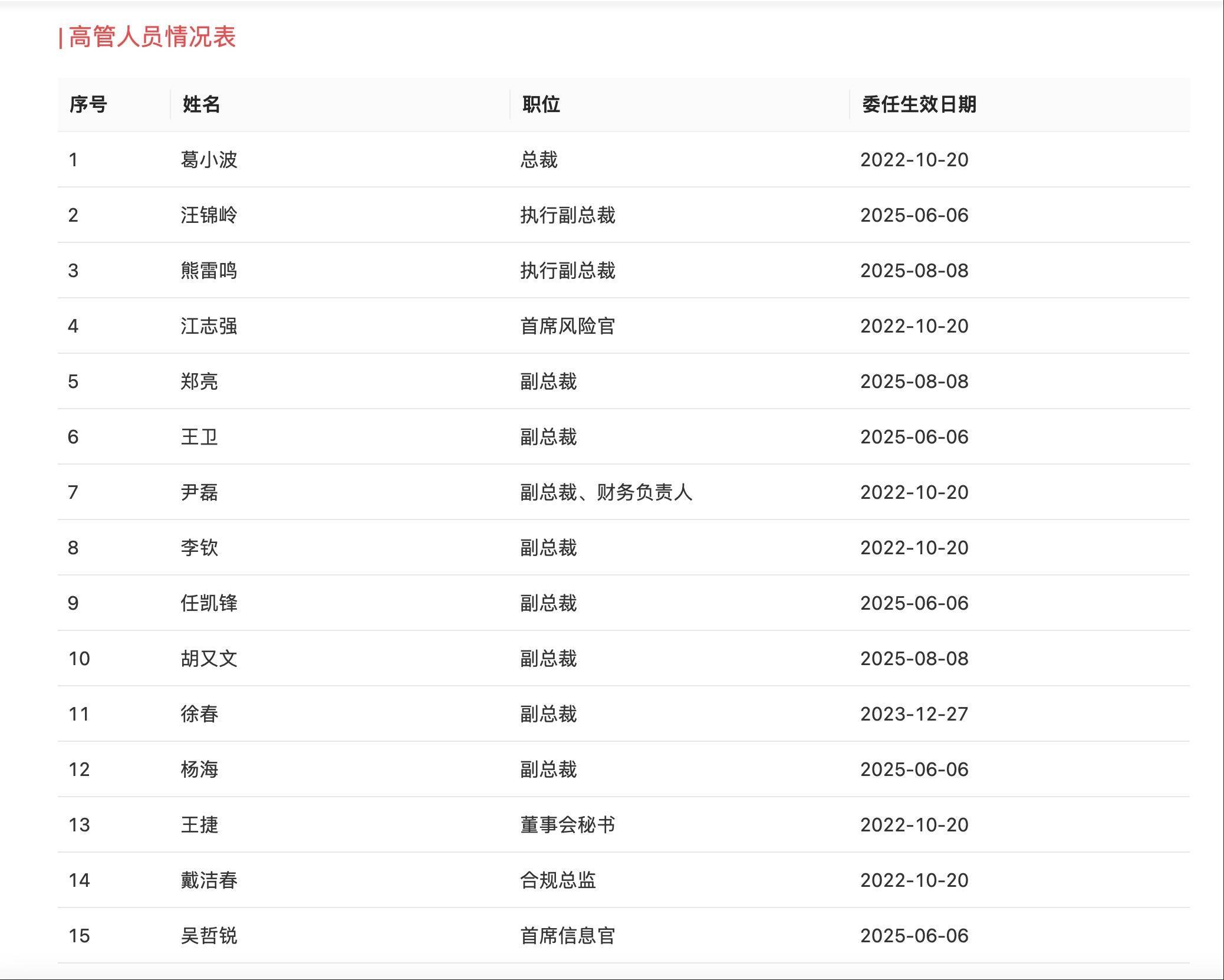
8月初,国联民生证券新一届核心领导班子也已正式敲定。据公司公告及公开信息显示,经过两次人员调整,公司目前由顾伟担任董事长,葛小波出任总裁。
高管团队方面,汪锦岭、熊雷鸣被任命为执行副总裁,其他高级管理人员包括:江志强、郑亮、王卫、尹磊、李钦、任凯锋、胡又文、徐春、杨海、王捷、戴洁春、吴哲锐等。这一高管团队的组合,有近一半来自民生证券,保留了原国联证券和民生证券的核心管理人才。这一管理团队的搭建,也充分考虑了业务互补和人才优化配置,为合并后的整合与发展提供了组织保障。
(图片来源:国联民生证券官网)
对于新组成的领导班子而言北京网上炒股配资网,在享受合并红利的同时,也必须直面如何化解历史遗留问题,筑牢合规防线,并将短期业绩爆发转化为长期稳健增长的核心竞争力。(蓝鲸新闻 王婉莹 wangwanying@lanjinger.com)
举报/反馈捷希缘提示:文章来自网络,不代表本站观点。